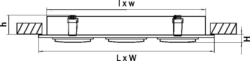
Встраиваемый светильник Lightstar Singo 011623