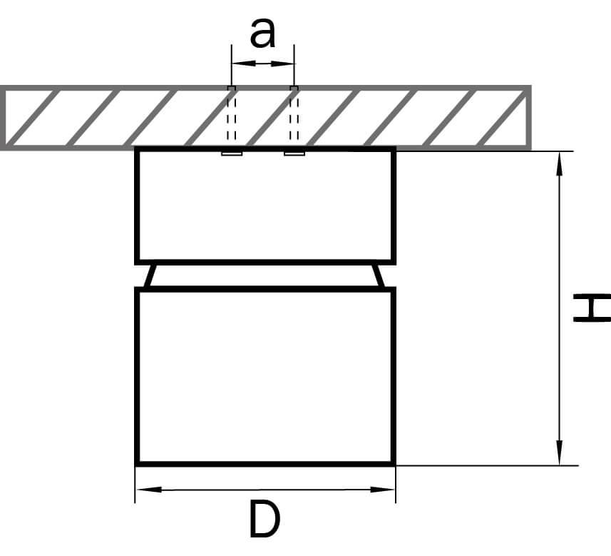
Светодиодный спот Lightstar Forte Muro 213817