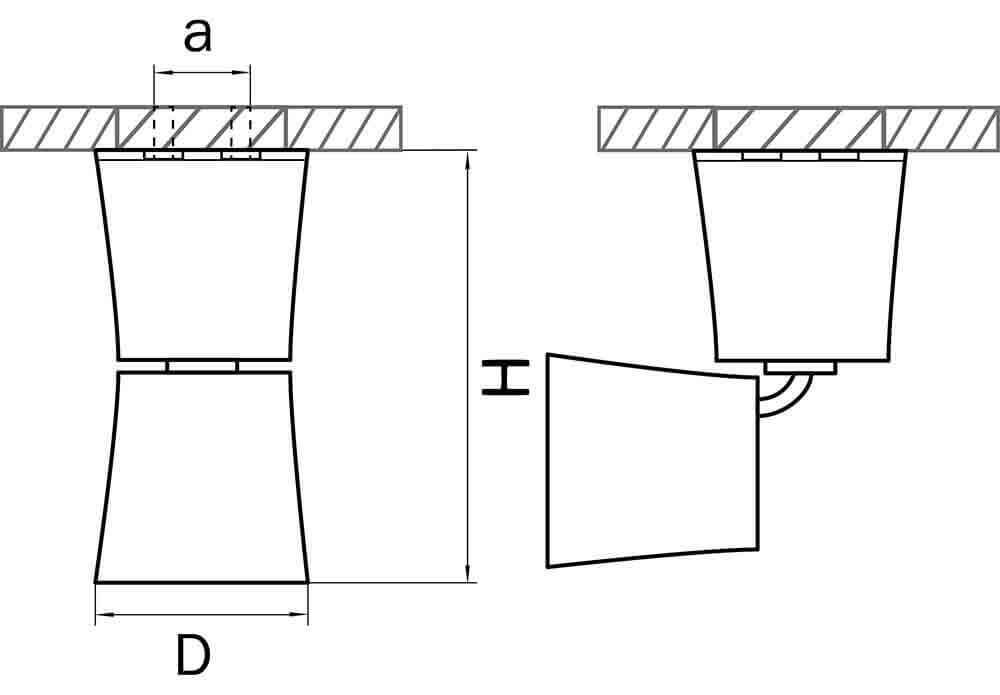
Спот Lightstar Rotonda 214457