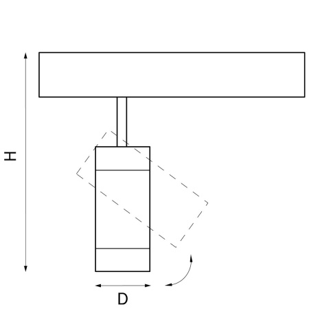
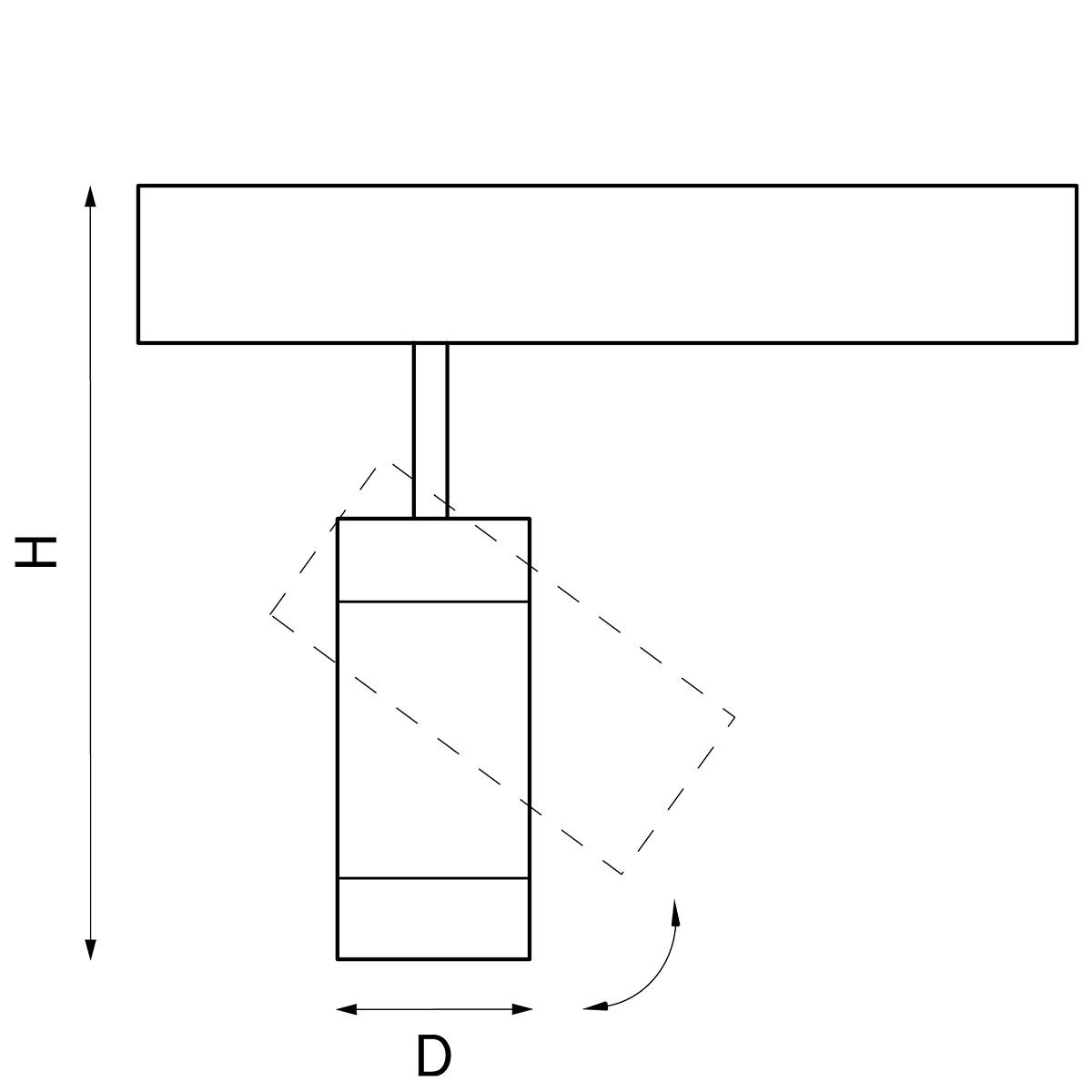
Трековый светодиодный светильник Lightstar Teta 205016