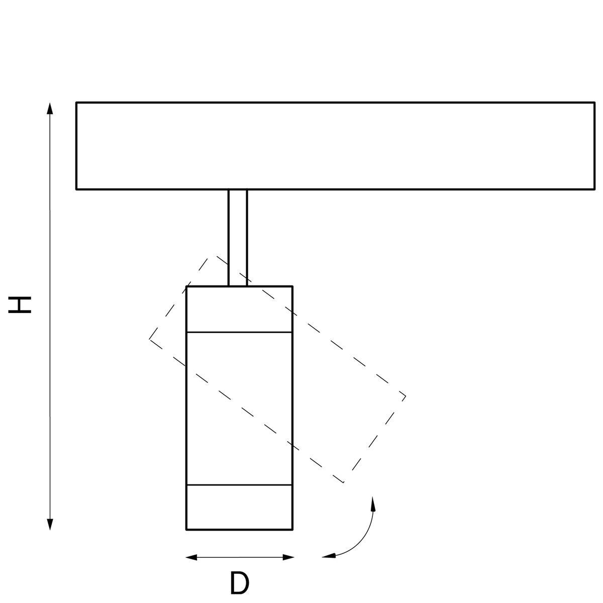
Трековый светодиодный светильник Lightstar Teta 205017