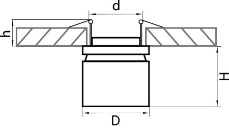
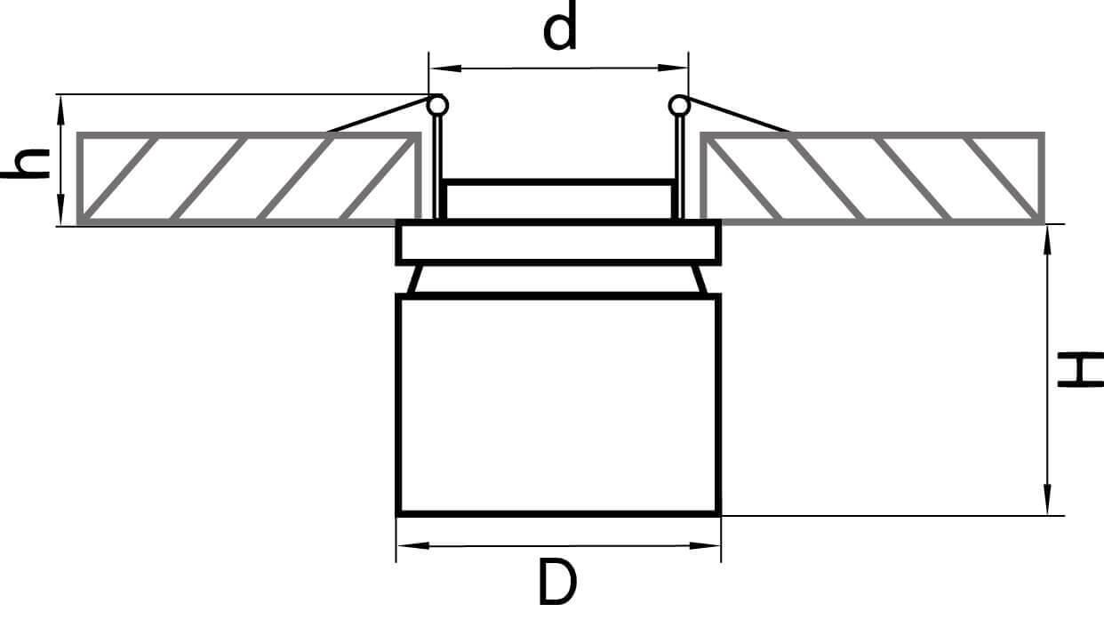
Встраиваемый спот Lightstar Forte Inca 214829