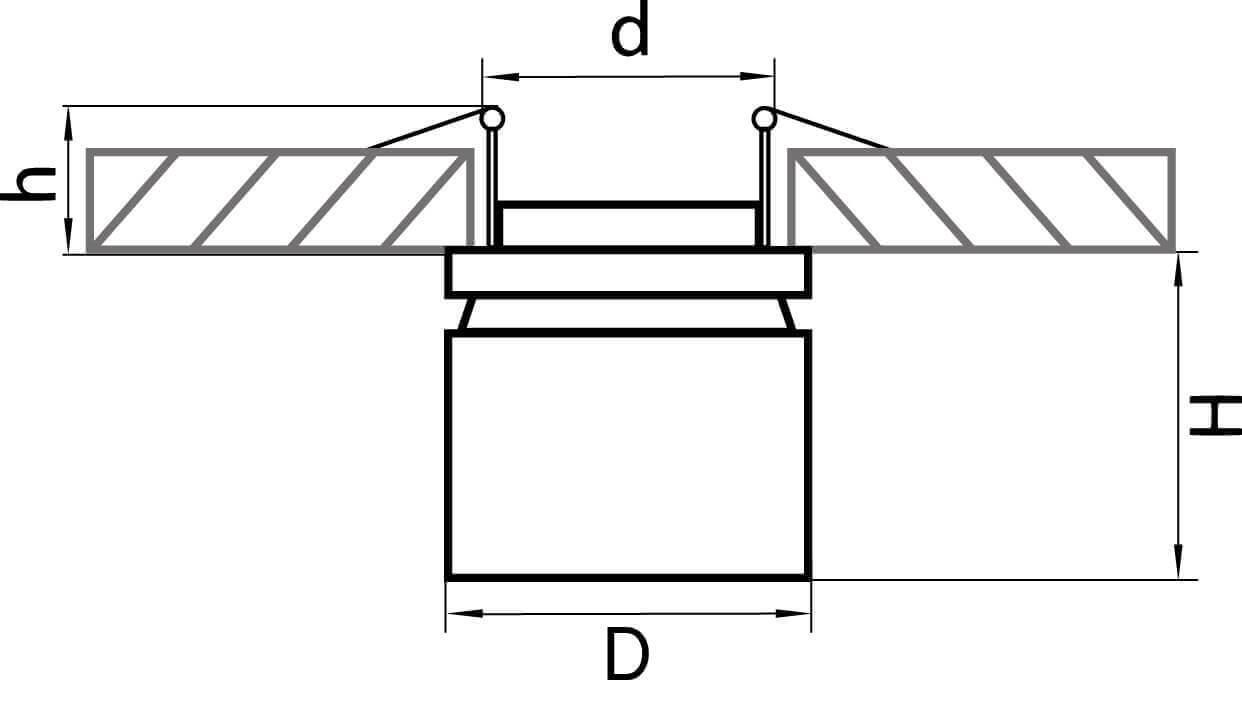
Встраиваемый спот Lightstar Forte Inca 214849