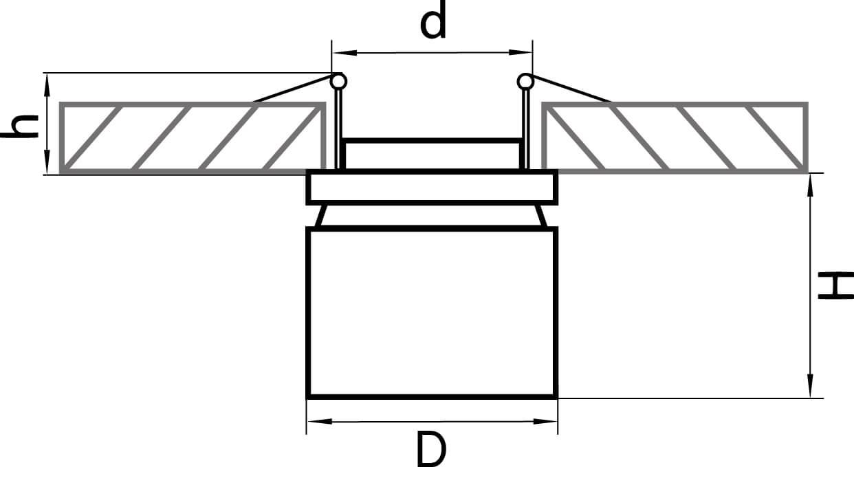
Встраиваемый светодиодный спот Lightstar Forte Inca 213806